In arrivo un nuovo controller per Nintendo Switch?

Un tweet svela l’esistenza di un brevetto

Notizia di Gameplay Café Bot

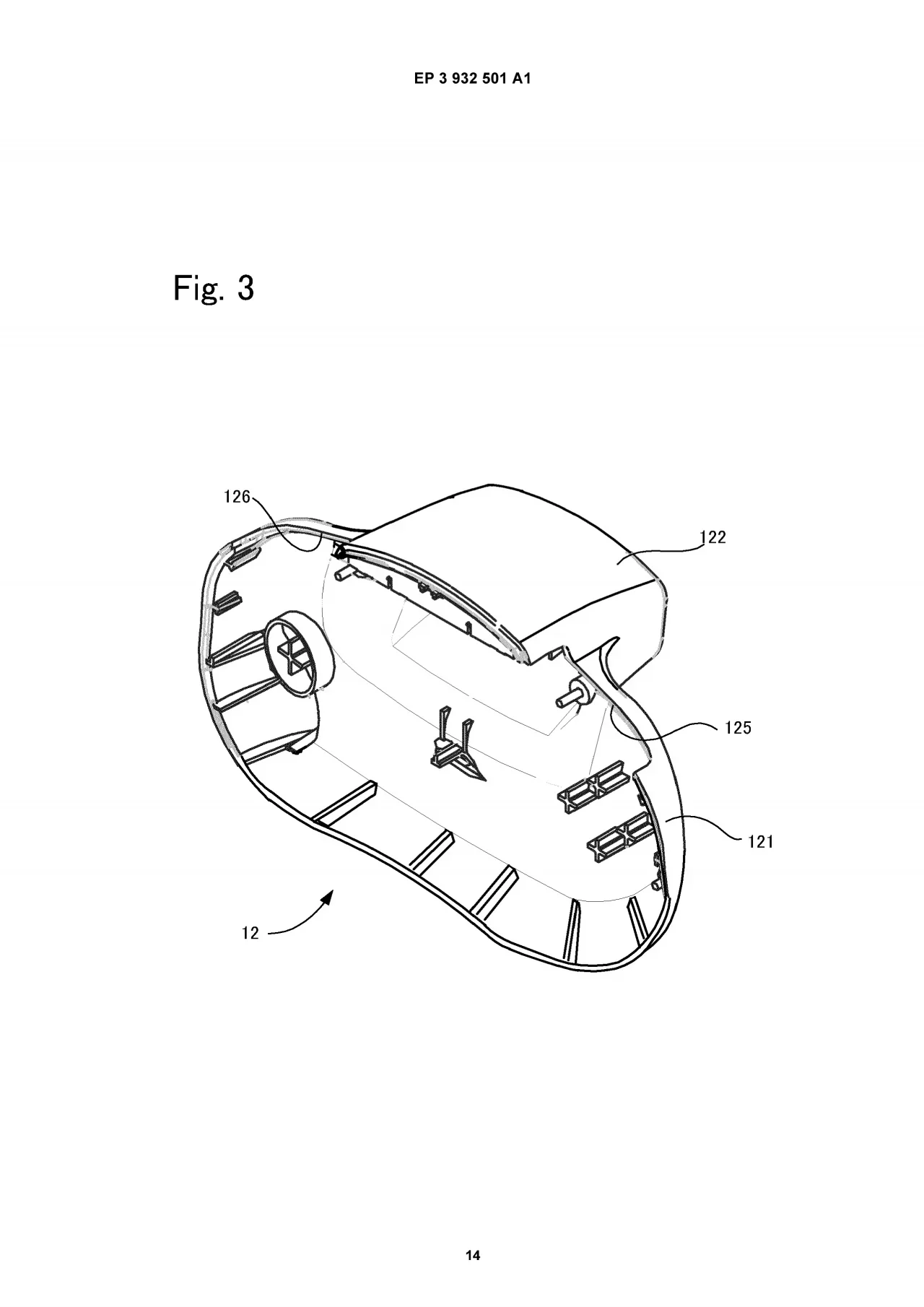
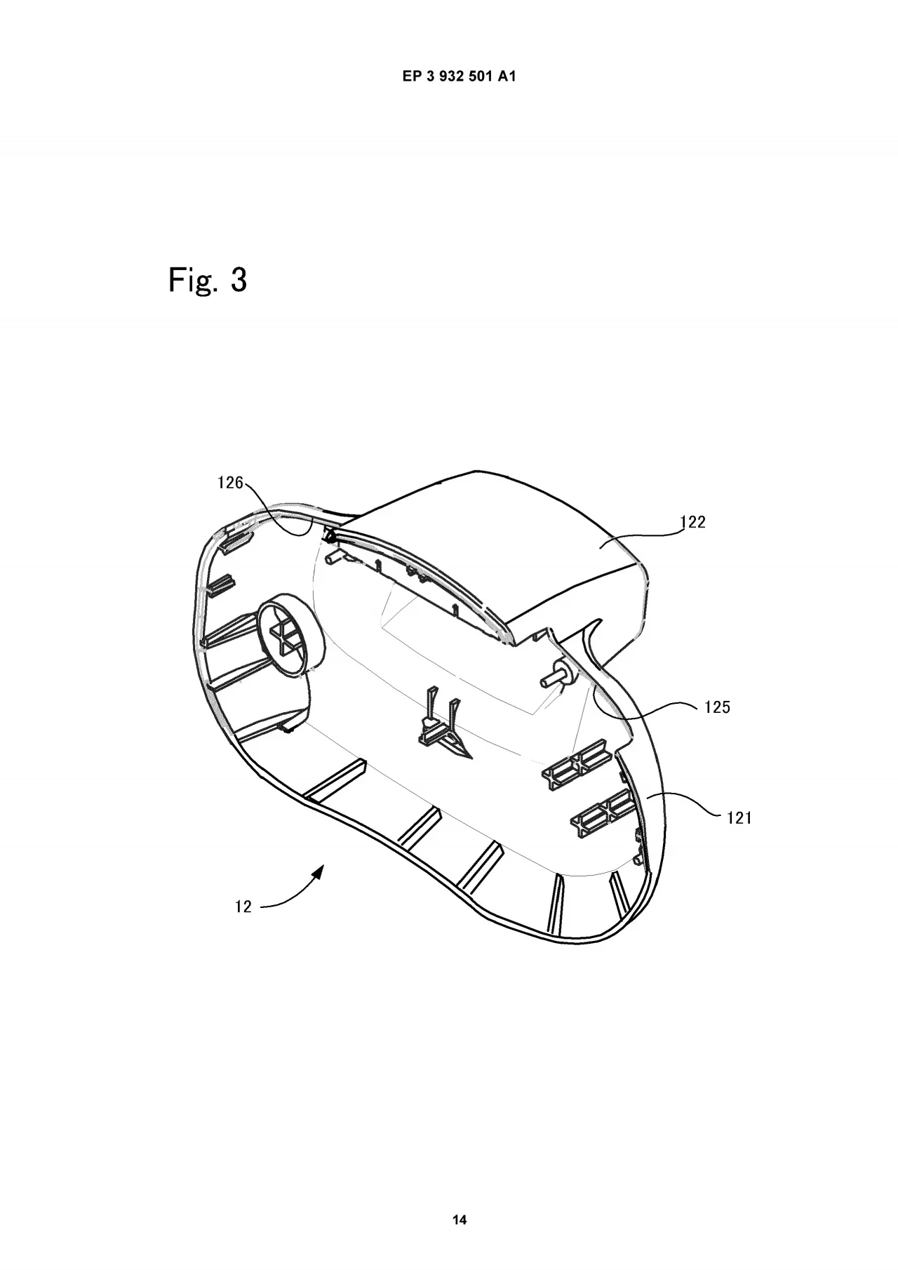
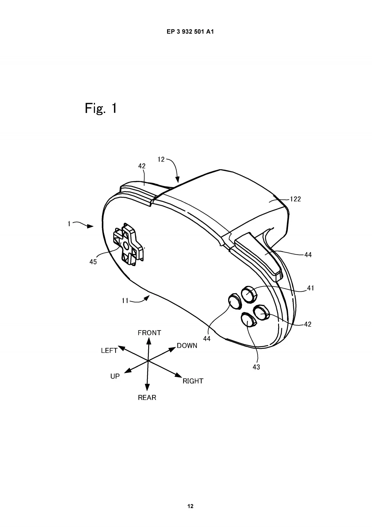
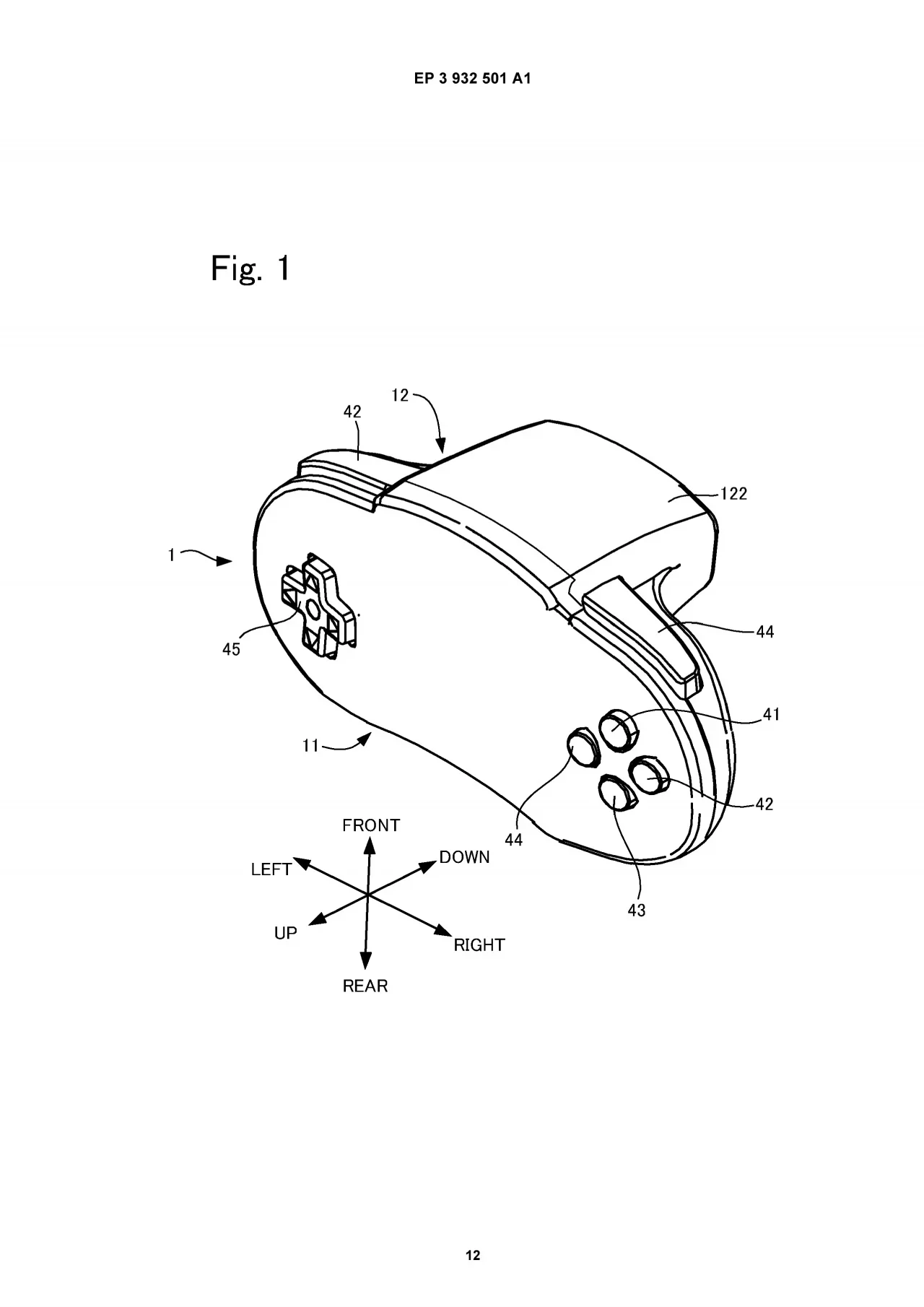
Pochi giorni fa, un utente di Twitter ha svelato di aver scoperto un brevetto relativo, presumibilmente, a un nuovo controller per Nintendo Switch, creato a luglio 2021 e pubblicato poi a gennaio 2022.

Il brevetto, qui disponibile per intero, mostra il prototipo di un controller dotato di un vano batteria particolarmente grande, che ricorda il vecchio Nintendo 64 e l’assenza di levette analogiche. Questo nuovo prodotto potrebbe essere presentato in uno dei prossimi Nintendo Direct, anche se, a oggi, non si hanno informazioni a riguardo di una precisa data e nulla fa pensare a grandi annunci in arrivo.

In ogni caso, dopo il lancio di Nintendo Switch Lite, ricordiamo anche che è piuttosto recente l’uscita del modello OLED, di cui vi abbiamo parlato in questo approfondimento.

Potrebbe quindi non significare nulla, potremmo facilmente trovarci davanti a un brevetto completato ma poi scartato dalla casa di Kyoto, anche perché conosciamo bene quanto la casa giapponese sia attenta a preservare i propri segreti aziendali da leak e anticipazione.

 

Lascia un commento